Механизм Дробления Канализационных Стоков предназначен для отсеивания включений в потоке для защиты погружных насосов на станциях обработки муниципальных стоков, а также для дробления твердых включений в потоке.
Механизм состоит из дискового экрана и дробилки. Дисковый экран представляет из себя несколько параллельных валов с дисками из высококачественной нержавеющей стали. Валы вращаются в одну сторону, осуществляя фильтрацию мелких включений потока через зазоры между дисками. Более крупные, неотфильтрованные включения перемещаются к дробилке.
Дробилка представляет собой два параллельных вала с установленными на них зубчатыми ножами из износостойкой ударопрочной инструментальной стали. Валы вращаются навстречу друг другу, соотношение их скоростей подобрано с учётом обеспечения оптимального дробления.
Станина механизма выполнена из антикоррозионного чугуна. Нижние опоры валов дискового экрана и дробилки изготавливаются с использованием долговечных торцевых уплотнений, способных работать в агрессивной среде канализационных стоков.
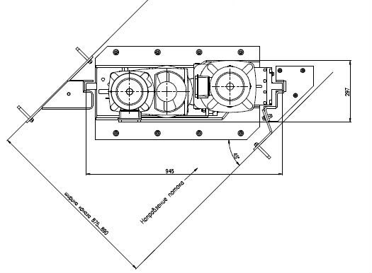
Механизм устанавливается внутрь потока с использованием специальной рамы, изготовленной из листовой нержавеющей стали.

В качестве приводов дискового экрана и дробилки используются промышленные асинхронные трёхфазные мотор-редукторы ведущего европейского производителя. По желанию заказчика могут быть установлены привода в герметичном исполнении с классом защиты IP67.
Корпус редуктора дробилки оснащён датчиком уровня масла, сигнал которого останавливает работу механизма и включает сигнал аварии в случае падения уровня масла в редукторе ниже допустимого, что защищает механизм от повреждений.

Механизм комплектуется системой управления, расположенной в герметичном корпусе. Система управления, построенная на промышленных преобразователях частоты со встроенными программируемыми логическими контроллерами, позволяет защитить механизм поломок и перегрузок путём автоматического включения реверса приводов в случае превышения номинальных токов. Управляющая программа включает реверс на разные промежутки времени в зависимости от величины зафиксированной перегрузки привода. При этом осуществляется самоочистка механизма. При многократной перегрузке привода за короткий промежуток времени управляющая программа останавливает работу механизма и даёт сигнал об аварии. Такая логика работы системы управления позволяет практически исключить вероятность поломки механизма в штатном режиме работы и повысить срок его службы.
Механизм устанавливается под углом к потоку, что позволяет избежать жёстких ударов по нему крупными предметами. Механизм поставляется по желанию заказчика в левом и правом исполнениях. Механизм может быть изготовлен во множестве вариантов для различных габаритов потока.
Основные преимущества:
Характеристики механизма:
|
Модель |
Глубина потока |
Максимальный поток, тыс. куб. м/час |
|||||||
|
Количество валов экрана |
|||||||||
|
3 |
4 |
5 |
6 |
7 |
8 |
9 |
10 |
||
|
МДККС 1 м |
1000 мм |
1.85 |
2.39 |
2.92 |
3.46 |
3.99 |
4.52 |
5.07 |
5.6 |
|
МДКС 1.5 м |
1500 мм |
3.4 |
4.39 |
5.37 |
6.36 |
7.34 |
8.32 |
9.31 |
10.29 |
|
МДКС 2 м |
2000 мм |
5.24 |
6.76 |
8.27 |
9.79 |
11.3 |
12.82 |
14.33 |
15.85 |




Купить ДРОБИЛКА КАНАЛИЗАЦИОННЫХ СТОКОВ МДКС в регионе Ярославль.