Новости и акции компании
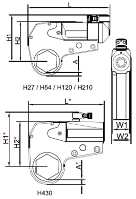
Основные характеристики гайковертов серии H (фланцевый гайковёрт)




Преимущества гайковертов серии H
Гидравлические ключи с низким профилем серии H созданы для работы в труднодоступных местах и имеют несколько сменных кассет и переходников. Можно быстро и легко произвести замену основных деталей при помощи простых инструментов. Легкость смены креплений позволяет экономить время. Легкий алюминиевый корпус обеспечивает легкость в работе, даже при наличии ржавчины.

Купить Гидравлический моментный ключ кассетного типа серия H в регионе Ярославль.